Could Apple Soon Be Branching Out Into Printed Paper Bags?

07 October 2016 | The Printed Bag Shop

Could Apple Soon Be Branching Out Into Printed Paper Bags?

It’s recently been shared online that tech giant and mobile phone gods Apple have filed a patent for a paper bag design.

They’ve already revolutionised the way we listen to music, interact with each other and use our smartphones, but could a change in the way we use paper bags be around the corner?

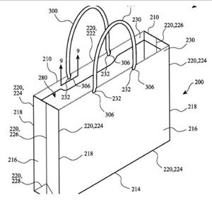
It appears that the patent itself is for a recycled paper carrier bag that uses that little bit of Apple genius to make it unusually strong in comparison to other similar bags.

We know that the strength of white recycled bags can sometimes be affected due to the amount of bleach used in the manufacturing process, but Apple seem to plan to tackle this by potentially using more recycled material to add reinforcement inside the corners and edges of the bag, giving it more strength and durability.

The actual summary for the patent itself apparently says that “the paper bag may include a bag container formed of white solid bleached sulfate paper with at least 60% post-consumer content.”

There could also potentially be knitted handles on the bags, making them more comfortable for shoppers, easier to put items into, and more able to fit in smaller spaces for storage.

Anything more than this is unclear as of yet − will the bags be exclusively for Apple customers? Or could these features become part of our everyday carrier bags?

We’re just hoping we won’t get a message every 10 minutes telling us our storage is full.